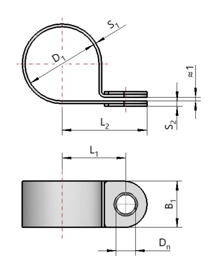
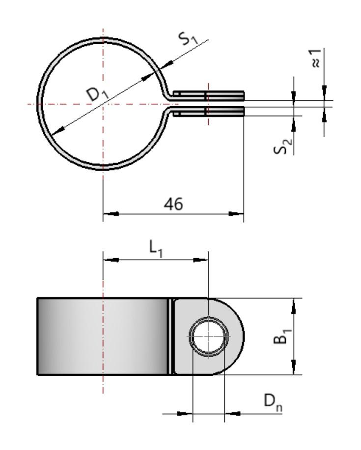
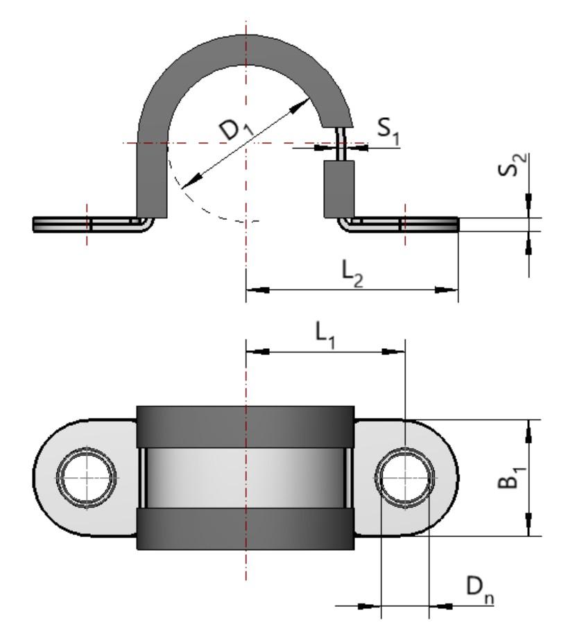
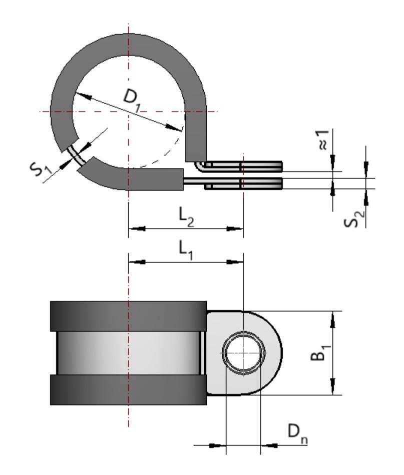
nach DIN 3016-1
Formen A1- F1 & Formen A2 – F2
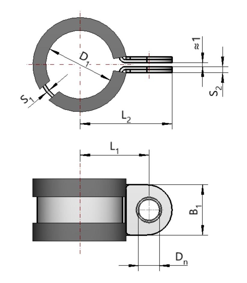
Halterungsschellen / Rohrschellen mit oder ohne Gummiprofil, eignen sich für alle Arten von Befestigungs- und Halterungsanwendungen. Sie ermöglichen durch einfache Montage ein sicheres Befestigen von Rohren, Kabeln, Kabelbäumen, Kabelschutzrohren, Schläuchen und sonstigen Leitungen.
Die mit einer Stützscheibe und einem zusätzlichen Kragenzug an der Bohrung verstärkten Bandenden (Laschen) ermöglichen hohe mechanische Belastungen.
Halterungsschellen mit wetter- und ozonbeständigem Gummiprofil schützen vor Vibrationen und Kriechwasser und isolieren die Schelle gegenüber dem zu befestigenden Material.

Diese Halterungsschellen können in Form, Nenn-Ø, Bohrung und Bandstärke individuell an die jeweiligen Einsatzgebiete angepasst werden.

| Nenn-Ø D₁ |
B₁ ±0,3 |
Dₙ H13 |
L₁ +1 -0,2 |
L₂ max. |
S₁ +0,2 -0,1 |
S₂ +0,2 -0,1 |
||||||
|---|---|---|---|---|---|---|---|---|---|---|---|---|
| W1 | W3 | W4 | W5 | W1 | W3 | W4 | W5 | |||||
| Ø4 – Ø40 | 09 | 4,3 | ½ D₁ + 4,7 | ½ D₁ + 9,2 | 0,4 | 1,4 | ||||||
|
D₁ entspricht dem Außendurchmesser des zu haltenden Teiles. Die Halterungsschellen weisen keinen Spannbereich auf. Der Stufensprung beträgt 0,5–1 mm. |
||||||||||||
| Nenn-Ø D₁ |
B₁ ±0,3 |
Dₙ H13 |
L₁ +1 -0,2 |
L₂ max. |
S₁ +0,2 -0,1 |
S₂ +0,2 -0,1 |
||||||
|---|---|---|---|---|---|---|---|---|---|---|---|---|
| W1 | W3 | W4 | W5 | W1 | W3 | W4 | W5 | |||||
| Ø4 bis Ø40 | 12 | 5,3 | ½ D₁ + 6,8 | ½ D₁ + 13 | 0,5 | 1,5 | ||||||
|
D₁ entspricht dem Außendurchmesser des zu haltenden Teiles. Die Halterungsschellen weisen keinen Spannbereich auf. Der Stufensprung beträgt 0,5–1 mm. |
||||||||||||
| Nenn-Ø D₁ |
B₁ ±0,3 |
Dₙ H13 |
L₁ +1 -0,2 |
L₂ max. |
S₁ +0,2 -0,1 |
S₂ +0,2 -0,1 |
||||||
|---|---|---|---|---|---|---|---|---|---|---|---|---|
| W1 | W3 | W4 | W5 | W1 | W3 | W4 | W5 | |||||
| Ø5 bis Ø14 | 15 | 6,4 | ½ D₁ + 9,7 | ½ D₁ + 17,2 | 0,6 | 1,6 | ||||||
| Ø15 bis Ø110 | 0,8 | 0,6 | 1,8 | 1,6 | ||||||||
|
D₁ entspricht dem Außendurchmesser des zu haltenden Teiles. Die Halterungsschellen weisen keinen Spannbereich auf. Der Stufensprung beträgt 0,5–1 mm. |
||||||||||||
| Nenn-Ø D₁ |
B₁ ±0,3 |
Dₙ H13 |
L₁ +1 -0,2 |
L₂ max. |
S₁ +0,2 -0,1 |
S₂ +0,2 -0,1 |
||||||
|---|---|---|---|---|---|---|---|---|---|---|---|---|
| W1 | W3 | W4 | W5 | W1 | W3 | W4 | W5 | |||||
| Ø6 bis Ø25 | 20 | 8,4 | ½ D₁ + 12,5 | ½ D₁ + 22,5 | 0,8 | 2,3 | ||||||
| Ø26 bis Ø130 | 1,0 | 0,8 | 2,5 | 2,3 | ||||||||
|
D₁ entspricht dem Außendurchmesser des zu haltenden Teiles. Die Halterungsschellen weisen keinen Spannbereich auf. Der Stufensprung beträgt 0,5–1 mm. |
||||||||||||
| Nenn-Ø D₁ |
B₁ ±0,3 |
Dₙ H13 |
L₁ +1 -0,2 |
L₂ max. |
S₁ +0,2 -0,1 |
S₂ +0,2 -0,1 |
||||||
|---|---|---|---|---|---|---|---|---|---|---|---|---|
| W1 | W3 | W4 | W5 | W1 | W3 | W4 | W5 | |||||
| Ø8 bis Ø49 | 25 | 10,5 | ½ D₁ + 14,5 | ½ D₁ + 27 | 1,0 | 2,5 | ||||||
| Ø50 bis Ø150 | 1,25 | 1,0 | 2,75 | 2,5 | ||||||||
|
D₁ entspricht dem Außendurchmesser des zu haltenden Teiles. Die Halterungsschellen weisen keinen Spannbereich auf. Der Stufensprung beträgt 0,5–1 mm. |
||||||||||||

| Nenn-Ø D₁ |
B₁ ±0,3 |
Dₙ H13 |
L₁ +1 -0,2 |
L₂ max. |
S₁ +0,2 -0,1 |
S₂ +0,2 -0,1 |
||||||
|---|---|---|---|---|---|---|---|---|---|---|---|---|
| W1 | W3 | W4 | W5 | W1 | W3 | W4 | W5 | |||||
| Ø4 – Ø40 | 09 | 4,3 | ½ D₁ + 4,7 | ½ D₁ + 9,2 | 0,4 | 1,4 | ||||||
|
D₁ entspricht dem Außendurchmesser des zu haltenden Teiles. Die Halterungsschellen weisen keinen Spannbereich auf. Der Stufensprung beträgt 0,5–1 mm. |
||||||||||||
| Nenn-Ø D₁ |
B₁ ±0,3 |
Dₙ H13 |
L₁ +1 -0,2 |
L₂ max. |
S₁ +0,2 -0,1 |
S₂ +0,2 -0,1 |
||||||
|---|---|---|---|---|---|---|---|---|---|---|---|---|
| W1 | W3 | W4 | W5 | W1 | W3 | W4 | W5 | |||||
| Ø4 bis Ø40 | 12 | 5,3 | ½ D₁ + 6,8 | ½ D₁ + 13 | 0,5 | 1,5 | ||||||
|
D₁ entspricht dem Außendurchmesser des zu haltenden Teiles. Die Halterungsschellen weisen keinen Spannbereich auf. Der Stufensprung beträgt 0,5–1 mm. |
||||||||||||
| Nenn-Ø D₁ |
B₁ ±0,3 |
Dₙ H13 |
L₁ +1 -0,2 |
L₂ max. |
S₁ +0,2 -0,1 |
S₂ +0,2 -0,1 |
||||||
|---|---|---|---|---|---|---|---|---|---|---|---|---|
| W1 | W3 | W4 | W5 | W1 | W3 | W4 | W5 | |||||
| Ø5 bis Ø14 | 15 | 6,4 | ½ D₁ + 9,7 | ½ D₁ + 17,2 | 0,6 | 1,6 | ||||||
| Ø15 bis Ø110 | 0,8 | 0,6 | 1,8 | 1,6 | ||||||||
|
D₁ entspricht dem Außendurchmesser des zu haltenden Teiles. Die Halterungsschellen weisen keinen Spannbereich auf. Der Stufensprung beträgt 0,5–1 mm. |
||||||||||||
| Nenn-Ø D₁ |
B₁ ±0,3 |
Dₙ H13 |
L₁ +1 -0,2 |
L₂ max. |
S₁ +0,2 -0,1 |
S₂ +0,2 -0,1 |
||||||
|---|---|---|---|---|---|---|---|---|---|---|---|---|
| W1 | W3 | W4 | W5 | W1 | W3 | W4 | W5 | |||||
| Ø6 bis Ø25 | 20 | 8,4 | ½ D₁ + 12,5 | ½ D₁ + 22,5 | 0,8 | 2,3 | ||||||
| Ø26 bis Ø130 | 1,0 | 0,8 | 2,5 | 2,3 | ||||||||
|
D₁ entspricht dem Außendurchmesser des zu haltenden Teiles. Die Halterungsschellen weisen keinen Spannbereich auf. Der Stufensprung beträgt 0,5–1 mm. |
||||||||||||
| Nenn-Ø D₁ |
B₁ ±0,3 |
Dₙ H13 |
L₁ +1 -0,2 |
L₂ max. |
S₁ +0,2 -0,1 |
S₂ +0,2 -0,1 |
||||||
|---|---|---|---|---|---|---|---|---|---|---|---|---|
| W1 | W3 | W4 | W5 | W1 | W3 | W4 | W5 | |||||
| Ø8 bis Ø49 | 25 | 10,5 | ½ D₁ + 14,5 | ½ D₁ + 27 | 1,0 | 2,5 | ||||||
| Ø50 bis Ø150 | 1,25 | 1,0 | 2,75 | 2,5 | ||||||||
|
D₁ entspricht dem Außendurchmesser des zu haltenden Teiles. Die Halterungsschellen weisen keinen Spannbereich auf. Der Stufensprung beträgt 0,5–1 mm. |
||||||||||||

| Nenn-Ø D₁ |
B₁ ±0,3 |
Dₙ H13 |
L₁ +1 -0,2 |
L₂ max. |
S₁ +0,2 -0,1 |
S₂ +0,2 -0,1 |
||||||
|---|---|---|---|---|---|---|---|---|---|---|---|---|
| W1 | W3 | W4 | W5 | W1 | W3 | W4 | W5 | |||||
| Ø4 – Ø40 | 09 | 4,3 | ½ D₁ + 4,7 | ½ D₁ + 9,2 | 0,4 | 1,4 | ||||||
|
D₁ entspricht dem Außendurchmesser des zu haltenden Teiles. Die Halterungsschellen weisen keinen Spannbereich auf. Der Stufensprung beträgt 0,5–1 mm. |
||||||||||||
| Nenn-Ø D₁ |
B₁ ±0,3 |
Dₙ H13 |
L₁ +1 -0,2 |
L₂ max. |
S₁ +0,2 -0,1 |
S₂ +0,2 -0,1 |
||||||
|---|---|---|---|---|---|---|---|---|---|---|---|---|
| W1 | W3 | W4 | W5 | W1 | W3 | W4 | W5 | |||||
| Ø4 bis Ø40 | 12 | 5,3 | ½ D₁ + 6,8 | ½ D₁ + 13 | 0,5 | 1,5 | ||||||
|
D₁ entspricht dem Außendurchmesser des zu haltenden Teiles. Die Halterungsschellen weisen keinen Spannbereich auf. Der Stufensprung beträgt 0,5–1 mm. |
||||||||||||
| Nenn-Ø D₁ |
B₁ ±0,3 |
Dₙ H13 |
L₁ +1 -0,2 |
L₂ max. |
S₁ +0,2 -0,1 |
S₂ +0,2 -0,1 |
||||||
|---|---|---|---|---|---|---|---|---|---|---|---|---|
| W1 | W3 | W4 | W5 | W1 | W3 | W4 | W5 | |||||
| Ø5 bis Ø14 | 15 | 6,4 | ½ D₁ + 9,7 | ½ D₁ + 17,2 | 0,6 | 1,6 | ||||||
| Ø15 bis Ø110 | 0,8 | 0,6 | 1,8 | 1,6 | ||||||||
|
D₁ entspricht dem Außendurchmesser des zu haltenden Teiles. Die Halterungsschellen weisen keinen Spannbereich auf. Der Stufensprung beträgt 0,5–1 mm. |
||||||||||||
| Nenn-Ø D₁ |
B₁ ±0,3 |
Dₙ H13 |
L₁ +1 -0,2 |
L₂ max. |
S₁ +0,2 -0,1 |
S₂ +0,2 -0,1 |
||||||
|---|---|---|---|---|---|---|---|---|---|---|---|---|
| W1 | W3 | W4 | W5 | W1 | W3 | W4 | W5 | |||||
| Ø6 bis Ø25 | 20 | 8,4 | ½ D₁ + 12,5 | ½ D₁ + 22,5 | 0,8 | 2,3 | ||||||
| Ø26 bis Ø130 | 1,0 | 0,8 | 2,5 | 2,3 | ||||||||
|
D₁ entspricht dem Außendurchmesser des zu haltenden Teiles. Die Halterungsschellen weisen keinen Spannbereich auf. Der Stufensprung beträgt 0,5–1 mm. |
||||||||||||
| Nenn-Ø D₁ |
B₁ ±0,3 |
Dₙ H13 |
L₁ +1 -0,2 |
L₂ max. |
S₁ +0,2 -0,1 |
S₂ +0,2 -0,1 |
||||||
|---|---|---|---|---|---|---|---|---|---|---|---|---|
| W1 | W3 | W4 | W5 | W1 | W3 | W4 | W5 | |||||
| Ø8 bis Ø49 | 25 | 10,5 | ½ D₁ + 14,5 | ½ D₁ + 27 | 1,0 | 2,5 | ||||||
| Ø50 bis Ø150 | 1,25 | 1,0 | 2,75 | 2,5 | ||||||||
|
D₁ entspricht dem Außendurchmesser des zu haltenden Teiles. Die Halterungsschellen weisen keinen Spannbereich auf. Der Stufensprung beträgt 0,5–1 mm. |
||||||||||||

| Nenn-Ø D₁ / D₂ |
B₁ ±0,3 |
Dₙ H13 |
L₁ / L₃ +1 -0,2 |
L₂ / L₄ max. |
S₁ +0,2 -0,1 |
S₂ +0,2 -0,1 |
||||||
|---|---|---|---|---|---|---|---|---|---|---|---|---|
| W1 | W3 | W4 | W5 | W1 | W3 | W4 | W5 | |||||
| Ø4 – Ø40 | 09 | 4,3 | ½ D₁ + 4,7 | ½ D₁ + 9,2 | 0,4 | 1,4 | ||||||
|
a D₁ ist der Durchmesser auf der Seite der Befestigungslasche. Die Halterungsschellen weisen keinen Spannbereich auf. Der Stufensprung beträgt 0,5–1 mm. |
||||||||||||
| Nenn-Ø D₁ / D₂ |
B₁ ±0,3 |
Dₙ H13 |
L₁ / L₃ +1 -0,2 |
L₂ / L₄ max. |
S₁ +0,2 -0,1 |
S₂ +0,2 -0,1 |
||||||
|---|---|---|---|---|---|---|---|---|---|---|---|---|
| W1 | W3 | W4 | W5 | W1 | W3 | W4 | W5 | |||||
| Ø4 bis Ø40 | 12 | 5,3 | ½ D₁ + 6,8 | ½ D₁ + 13 | 0,5 | 1,5 | ||||||
|
a D₁ ist der Durchmesser auf der Seite der Befestigungslasche. Die Halterungsschellen weisen keinen Spannbereich auf. Der Stufensprung beträgt 0,5–1 mm. |
||||||||||||
| Nenn-Ø D₁ / D₂ |
B₁ ±0,3 |
Dₙ H13 |
L₁ / L₃ +1 -0,2 |
L₂ / L₄ max. |
S₁ +0,2 -0,1 |
S₂ +0,2 -0,1 |
||||||
|---|---|---|---|---|---|---|---|---|---|---|---|---|
| W1 | W3 | W4 | W5 | W1 | W3 | W4 | W5 | |||||
| Ø5 bis Ø14 | 15 | 6,4 | ½ D₁ + 9,7 | ½ D₁ + 17,2 | 0,6 | 1,6 | ||||||
| Ø15 bis Ø110 | 0,8 | 0,6 | 1,8 | 1,6 | ||||||||
|
a D₁ ist der Durchmesser auf der Seite der Befestigungslasche. Die Halterungsschellen weisen keinen Spannbereich auf. Der Stufensprung beträgt 0,5–1 mm. |
||||||||||||
| Nenn-Ø D₁ / D₂ |
B₁ ±0,3 |
Dₙ H13 |
L₁ / L₃ +1 -0,2 |
L₂ / L₄ max. |
S₁ +0,2 -0,1 |
S₂ +0,2 -0,1 |
||||||
|---|---|---|---|---|---|---|---|---|---|---|---|---|
| W1 | W3 | W4 | W5 | W1 | W3 | W4 | W5 | |||||
| Ø6 bis Ø25 | 20 | 8,4 | ½ D₁ + 12,5 | ½ D₁ + 22,5 | 0,8 | 2,3 | ||||||
| Ø26 bis Ø130 | 1,0 | 0,8 | 2,5 | 2,3 | ||||||||
|
a D₁ ist der Durchmesser auf der Seite der Befestigungslasche. Die Halterungsschellen weisen keinen Spannbereich auf. Der Stufensprung beträgt 0,5–1 mm. |
||||||||||||
| Nenn-Ø D₁ / D₂ |
B₁ ±0,3 |
Dₙ H13 |
L₁ / L₃ +1 -0,2 |
L₂ / L₄ max. |
S₁ +0,2 -0,1 |
S₂ +0,2 -0,1 |
||||||
|---|---|---|---|---|---|---|---|---|---|---|---|---|
| W1 | W3 | W4 | W5 | W1 | W3 | W4 | W5 | |||||
| Ø8 bis Ø49 | 25 | 10,5 | ½ D₁ + 14,5 | ½ D₁ + 27 | 1,0 | 2,5 | ||||||
| Ø50 bis Ø150 | 1,25 | 1,0 | 2,75 | 2,5 | ||||||||
|
a D₁ ist der Durchmesser auf der Seite der Befestigungslasche. Die Halterungsschellen weisen keinen Spannbereich auf. Der Stufensprung beträgt 0,5–1 mm. |
||||||||||||

| Nenn-Ø D₁ / D₂ |
B₁ ±0,3 |
Dₙ H13 |
L₁ / L₃ +1 -0,2 |
L₂ / L₄ max. |
S₁ +0,2 -0,1 |
S₂ +0,2 -0,1 |
||||||
|---|---|---|---|---|---|---|---|---|---|---|---|---|
| W1 | W3 | W4 | W5 | W1 | W3 | W4 | W5 | |||||
| Ø4 – Ø40 | 09 | 4,3 | ½ D₁ + 4,7 | ½ D₁ + 9,2 | 0,4 | 1,4 | ||||||
|
a D₁ ist der Durchmesser auf der Seite der Befestigungslasche. Die Halterungsschellen weisen keinen Spannbereich auf. Der Stufensprung beträgt 0,5–1 mm. |
||||||||||||
| Nenn-Ø D₁ / D₂ |
B₁ ±0,3 |
Dₙ H13 |
L₁ / L₃ +1 -0,2 |
L₂ / L₄ max. |
S₁ +0,2 -0,1 |
S₂ +0,2 -0,1 |
||||||
|---|---|---|---|---|---|---|---|---|---|---|---|---|
| W1 | W3 | W4 | W5 | W1 | W3 | W4 | W5 | |||||
| Ø4 bis Ø40 | 12 | 5,3 | ½ D₁ + 6,8 | ½ D₁ + 13 | 0,5 | 1,5 | ||||||
|
a D₁ ist der Durchmesser auf der Seite der Befestigungslasche. Die Halterungsschellen weisen keinen Spannbereich auf. Der Stufensprung beträgt 0,5–1 mm. |
||||||||||||
| Nenn-Ø D₁ / D₂ |
B₁ ±0,3 |
Dₙ H13 |
L₁ / L₃ +1 -0,2 |
L₂ / L₄ max. |
S₁ +0,2 -0,1 |
S₂ +0,2 -0,1 |
||||||
|---|---|---|---|---|---|---|---|---|---|---|---|---|
| W1 | W3 | W4 | W5 | W1 | W3 | W4 | W5 | |||||
| Ø5 bis Ø14 | 15 | 6,4 | ½ D₁ + 9,7 | ½ D₁ + 17,2 | 0,6 | 1,6 | ||||||
| Ø15 bis Ø110 | 0,8 | 0,6 | 1,8 | 1,6 | ||||||||
|
a D₁ ist der Durchmesser auf der Seite der Befestigungslasche. Die Halterungsschellen weisen keinen Spannbereich auf. Der Stufensprung beträgt 0,5–1 mm. |
||||||||||||
| Nenn-Ø D₁ / D₂ |
B₁ ±0,3 |
Dₙ H13 |
L₁ / L₃ +1 -0,2 |
L₂ / L₄ max. |
S₁ +0,2 -0,1 |
S₂ +0,2 -0,1 |
||||||
|---|---|---|---|---|---|---|---|---|---|---|---|---|
| W1 | W3 | W4 | W5 | W1 | W3 | W4 | W5 | |||||
| Ø6 bis Ø25 | 20 | 8,4 | ½ D₁ + 12,5 | ½ D₁ + 22,5 | 0,8 | 2,3 | ||||||
| Ø26 bis Ø130 | 1,0 | 0,8 | 2,5 | 2,3 | ||||||||
|
a D₁ ist der Durchmesser auf der Seite der Befestigungslasche. Die Halterungsschellen weisen keinen Spannbereich auf. Der Stufensprung beträgt 0,5–1 mm. |
||||||||||||
| Nenn-Ø D₁ / D₂ |
B₁ ±0,3 |
Dₙ H13 |
L₁ / L₃ +1 -0,2 |
L₂ / L₄ max. |
S₁ +0,2 -0,1 |
S₂ +0,2 -0,1 |
||||||
|---|---|---|---|---|---|---|---|---|---|---|---|---|
| W1 | W3 | W4 | W5 | W1 | W3 | W4 | W5 | |||||
| Ø8 bis Ø49 | 25 | 10,5 | ½ D₁ + 14,5 | ½ D₁ + 27 | 1,0 | 2,5 | ||||||
| Ø50 bis Ø150 | 1,25 | 1,0 | 2,75 | 2,5 | ||||||||
|
a D₁ ist der Durchmesser auf der Seite der Befestigungslasche. Die Halterungsschellen weisen keinen Spannbereich auf. Der Stufensprung beträgt 0,5–1 mm. |
||||||||||||

| Nenn-Ø D₁ / D₂ |
B₁ ±0,3 |
Dₙ H13 |
L₁ / L₃ +1 -0,2 |
L₂ / L₄ max. |
S₁ +0,2 -0,1 |
S₂ +0,2 -0,1 |
||||||
|---|---|---|---|---|---|---|---|---|---|---|---|---|
| W1 | W3 | W4 | W5 | W1 | W3 | W4 | W5 | |||||
| Ø4 – Ø40 | 09 | 4,3 | ½ D₁ + 4,7 | ½ D₁ + 9,2 | 0,4 | 1,4 | ||||||
|
D₁ / D₂ entspricht dem Außendurchmesser des zu haltenden Teiles. Die Halterungsschellen weisen keinen Spannbereich auf. Der Stufensprung beträgt 0,5 – 1 mm. |
||||||||||||
| Nenn-Ø D₁ / D₂ |
B₁ ±0,3 |
Dₙ H13 |
L₁ / L₃ +1 -0,2 |
L₂ / L₄ max. |
S₁ +0,2 -0,1 |
S₂ +0,2 -0,1 |
||||||
|---|---|---|---|---|---|---|---|---|---|---|---|---|
| W1 | W3 | W4 | W5 | W1 | W3 | W4 | W5 | |||||
| Ø4 bis Ø40 | 12 | 5,3 | ½ D₁ + 6,8 | ½ D₁ + 13 | 0,5 | 1,5 | ||||||
|
D₁ / D₂ entspricht dem Außendurchmesser des zu haltenden Teiles. Die Halterungsschellen weisen keinen Spannbereich auf. Der Stufensprung beträgt 0,5 – 1 mm. |
||||||||||||
| Nenn-Ø D₁ / D₂ |
B₁ ±0,3 |
Dₙ H13 |
L₁ / L₃ +1 -0,2 |
L₂ / L₄ max. |
S₁ +0,2 -0,1 |
S₂ +0,2 -0,1 |
||||||
|---|---|---|---|---|---|---|---|---|---|---|---|---|
| W1 | W3 | W4 | W5 | W1 | W3 | W4 | W5 | |||||
| Ø5 bis Ø14 | 15 | 6,4 | ½ D₁ + 9,7 | ½ D₁ + 17,2 | 0,6 | 1,6 | ||||||
| Ø15 bis Ø110 | 0,8 | 0,6 | 1,8 | 1,6 | ||||||||
|
D₁ / D₂ entspricht dem Außendurchmesser des zu haltenden Teiles. Die Halterungsschellen weisen keinen Spannbereich auf. Der Stufensprung beträgt 0,5 – 1 mm. |
||||||||||||
| Nenn-Ø D₁ / D₂ |
B₁ ±0,3 |
Dₙ H13 |
L₁ / L₃ +1 -0,2 |
L₂ / L₄ max. |
S₁ +0,2 -0,1 |
S₂ +0,2 -0,1 |
||||||
|---|---|---|---|---|---|---|---|---|---|---|---|---|
| W1 | W3 | W4 | W5 | W1 | W3 | W4 | W5 | |||||
| Ø6 bis Ø25 | 20 | 8,4 | ½ D₁ + 12,5 | ½ D₁ + 22,5 | 0,8 | 2,3 | ||||||
| Ø26 bis Ø130 | 1,0 | 0,8 | 2,5 | 2,3 | ||||||||
|
D₁ / D₂ entspricht dem Außendurchmesser des zu haltenden Teiles. Die Halterungsschellen weisen keinen Spannbereich auf. Der Stufensprung beträgt 0,5 – 1 mm. |
||||||||||||
| Nenn-Ø D₁ / D₂ |
B₁ ±0,3 |
Dₙ H13 |
L₁ / L₃ +1 -0,2 |
L₂ / L₄ max. |
S₁ +0,2 -0,1 |
S₂ +0,2 -0,1 |
||||||
|---|---|---|---|---|---|---|---|---|---|---|---|---|
| W1 | W3 | W4 | W5 | W1 | W3 | W4 | W5 | |||||
| Ø8 bis Ø49 | 25 | 10,5 | ½ D₁ + 14,5 | ½ D₁ + 27 | 1,0 | 2,5 | ||||||
| Ø50 bis Ø150 | 1,25 | 1,0 | 2,75 | 2,5 | ||||||||
|
D₁ / D₂ entspricht dem Außendurchmesser des zu haltenden Teiles. Die Halterungsschellen weisen keinen Spannbereich auf. Der Stufensprung beträgt 0,5 – 1 mm. |
||||||||||||

| Nenn-Ø D₁ |
B₁ ±0,3 |
Dₙ H13 |
L₁ +1 -0,2 |
L₂ max. |
S₁ +0,2 -0,1 |
S₂ +0,2 -0,1 |
||||||
|---|---|---|---|---|---|---|---|---|---|---|---|---|
| W1 | W3 | W4 | W5 | W1 | W3 | W4 | W5 | |||||
| Ø4 – Ø40 | 09 | 4,3 | ½ D₁ + 5,7 | ½ D₁ + 10,2 | 0,4 | 1,4 | ||||||
|
D₁ entspricht dem Außendurchmesser des zu haltenden Teiles. Die Halterungsschellen weisen keinen Spannbereich auf. Der Stufensprung beträgt 0,5 – 1 mm. |
||||||||||||
| Nenn-Ø D₁ |
B₁ ±0,3 |
Dₙ H13 |
L₁ +1 -0,2 |
L₂ max. |
S₁ +0,2 -0,1 |
S₂ +0,2 -0,1 |
||||||
|---|---|---|---|---|---|---|---|---|---|---|---|---|
| W1 | W3 | W4 | W5 | W1 | W3 | W4 | W5 | |||||
| Ø4 bis Ø40 | 12 | 5,3 | ½ D₁ + 8 | ½ D₁ + 14 | 0,5 | 1,5 | ||||||
|
D₁ entspricht dem Außendurchmesser des zu haltenden Teiles. Die Halterungsschellen weisen keinen Spannbereich auf. Der Stufensprung beträgt 0,5 – 1 mm. |
||||||||||||
| Nenn-Ø D₁ |
B₁ ±0,3 |
Dₙ H13 |
L₁ +1 -0,2 |
L₂ max. |
S₁ +0,2 -0,1 |
S₂ +0,2 -0,1 |
||||||
|---|---|---|---|---|---|---|---|---|---|---|---|---|
| W1 | W3 | W4 | W5 | W1 | W3 | W4 | W5 | |||||
| Ø5 bis Ø14 | 15 | 6,4 | ½ D₁ + 11,2 | ½ D₁ + 18,7 | 0,6 | 1,6 | ||||||
| Ø15 bis Ø110 | 0,8 | 0,6 | 1,8 | 1,6 | ||||||||
|
D₁ entspricht dem Außendurchmesser des zu haltenden Teiles. Die Halterungsschellen weisen keinen Spannbereich auf. Der Stufensprung beträgt 0,5 – 1 mm. |
||||||||||||
| Nenn-Ø D₁ |
B₁ ±0,3 |
Dₙ H13 |
L₁ +1 -0,2 |
L₂ max. |
S₁ +0,2 -0,1 |
S₂ +0,2 -0,1 |
||||||
|---|---|---|---|---|---|---|---|---|---|---|---|---|
| W1 | W3 | W4 | W5 | W1 | W3 | W4 | W5 | |||||
| Ø6 bis Ø25 | 20 | 8,4 | ½ D₁ + 14,5 | ½ D₁ + 24,5 | 0,8 | 2,3 | ||||||
| Ø26 bis Ø130 | 1,0 | 0,8 | 2,5 | 2,3 | ||||||||
|
D₁ entspricht dem Außendurchmesser des zu haltenden Teiles. Die Halterungsschellen weisen keinen Spannbereich auf. Der Stufensprung beträgt 0,5 – 1 mm. |
||||||||||||
| Nenn-Ø D₁ |
B₁ ±0,3 |
Dₙ H13 |
L₁ +1 -0,2 |
L₂ max. |
S₁ +0,2 -0,1 |
S₂ +0,2 -0,1 |
||||||
|---|---|---|---|---|---|---|---|---|---|---|---|---|
| W1 | W3 | W4 | W5 | W1 | W3 | W4 | W5 | |||||
| Ø8 bis Ø49 | 25 | 10,5 | ½ D₁ + 17,5 | ½ D₁ + 30 | 1,0 | 2,5 | ||||||
| Ø50 bis Ø150 | 1,25 | 1,0 | 2,75 | 2,5 | ||||||||
|
D₁ entspricht dem Außendurchmesser des zu haltenden Teiles. Die Halterungsschellen weisen keinen Spannbereich auf. Der Stufensprung beträgt 0,5 – 1 mm. |
||||||||||||

| Nenn-Ø D₁ |
B₁ ±0,3 |
Dₙ H13 |
L₁ +1 -0,2 |
L₂ max. |
S₁ +0,2 -0,1 |
S₂ +0,2 -0,1 |
||||||
|---|---|---|---|---|---|---|---|---|---|---|---|---|
| W1 | W3 | W4 | W5 | W1 | W3 | W4 | W5 | |||||
| Ø4 – Ø40 | 09 | 4,3 | ½ D₁ + 5,7 | ½ D₁ + 10,2 | 0,4 | 1,4 | ||||||
|
D₁ entspricht dem Außendurchmesser des zu haltenden Teiles. Die Halterungsschellen weisen keinen Spannbereich auf. Der Stufensprung beträgt 0,5 – 1 mm. |
||||||||||||
| Nenn-Ø D₁ |
B₁ ±0,3 |
Dₙ H13 |
L₁ +1 -0,2 |
L₂ max. |
S₁ +0,2 -0,1 |
S₂ +0,2 -0,1 |
||||||
|---|---|---|---|---|---|---|---|---|---|---|---|---|
| W1 | W3 | W4 | W5 | W1 | W3 | W4 | W5 | |||||
| Ø4 bis Ø40 | 12 | 5,3 | ½ D₁ + 8 | ½ D₁ + 14 | 0,5 | 1,5 | ||||||
|
D₁ entspricht dem Außendurchmesser des zu haltenden Teiles. Die Halterungsschellen weisen keinen Spannbereich auf. Der Stufensprung beträgt 0,5 – 1 mm. |
||||||||||||
| Nenn-Ø D₁ |
B₁ ±0,3 |
Dₙ H13 |
L₁ +1 -0,2 |
L₂ max. |
S₁ +0,2 -0,1 |
S₂ +0,2 -0,1 |
||||||
|---|---|---|---|---|---|---|---|---|---|---|---|---|
| W1 | W3 | W4 | W5 | W1 | W3 | W4 | W5 | |||||
| Ø5 bis Ø14 | 15 | 6,4 | ½ D₁ + 11,2 | ½ D₁ + 18,7 | 0,6 | 1,6 | ||||||
| Ø15 bis Ø110 | 0,8 | 0,6 | 1,8 | 1,6 | ||||||||
|
D₁ entspricht dem Außendurchmesser des zu haltenden Teiles. Die Halterungsschellen weisen keinen Spannbereich auf. Der Stufensprung beträgt 0,5 – 1 mm. |
||||||||||||
| Nenn-Ø D₁ |
B₁ ±0,3 |
Dₙ H13 |
L₁ +1 -0,2 |
L₂ max. |
S₁ +0,2 -0,1 |
S₂ +0,2 -0,1 |
||||||
|---|---|---|---|---|---|---|---|---|---|---|---|---|
| W1 | W3 | W4 | W5 | W1 | W3 | W4 | W5 | |||||
| Ø6 bis Ø25 | 20 | 8,4 | ½ D₁ + 14,5 | ½ D₁ + 24,5 | 0,8 | 2,3 | ||||||
| Ø26 bis Ø130 | 1,0 | 0,8 | 2,5 | 2,3 | ||||||||
|
D₁ entspricht dem Außendurchmesser des zu haltenden Teiles. Die Halterungsschellen weisen keinen Spannbereich auf. Der Stufensprung beträgt 0,5 – 1 mm. |
||||||||||||
| Nenn-Ø D₁ |
B₁ ±0,3 |
Dₙ H13 |
L₁ +1 -0,2 |
L₂ max. |
S₁ +0,2 -0,1 |
S₂ +0,2 -0,1 |
||||||
|---|---|---|---|---|---|---|---|---|---|---|---|---|
| W1 | W3 | W4 | W5 | W1 | W3 | W4 | W5 | |||||
| Ø8 bis Ø49 | 25 | 10,5 | ½ D₁ + 17,5 | ½ D₁ + 30 | 1,0 | 2,5 | ||||||
| Ø50 bis Ø150 | 1,25 | 1,0 | 2,75 | 2,5 | ||||||||
|
D₁ entspricht dem Außendurchmesser des zu haltenden Teiles. Die Halterungsschellen weisen keinen Spannbereich auf. Der Stufensprung beträgt 0,5 – 1 mm. |
||||||||||||

| Nenn-Ø D₁ |
B₁ ±0,3 |
Dₙ H13 |
L₁ +1 -0,2 |
L₂ max. |
S₁ +0,2 -0,1 |
S₂ +0,2 -0,1 |
||||||
|---|---|---|---|---|---|---|---|---|---|---|---|---|
| W1 | W3 | W4 | W5 | W1 | W3 | W4 | W5 | |||||
| Ø4 – Ø40 | 09 | 4,3 | ½ D₁ + 5,7 | ½ D₁ + 10,2 | 0,4 | 1,4 | ||||||
|
D₁ entspricht dem Außendurchmesser des zu haltenden Teiles. Die Halterungsschellen weisen keinen Spannbereich auf. Der Stufensprung beträgt 0,5 – 1 mm. |
||||||||||||
| Nenn-Ø D₁ |
B₁ ±0,3 |
Dₙ H13 |
L₁ +1 -0,2 |
L₂ max. |
S₁ +0,2 -0,1 |
S₂ +0,2 -0,1 |
||||||
|---|---|---|---|---|---|---|---|---|---|---|---|---|
| W1 | W3 | W4 | W5 | W1 | W3 | W4 | W5 | |||||
| Ø4 bis Ø40 | 12 | 5,3 | ½ D₁ + 8 | ½ D₁ + 14 | 0,5 | 1,5 | ||||||
|
D₁ entspricht dem Außendurchmesser des zu haltenden Teiles. Die Halterungsschellen weisen keinen Spannbereich auf. Der Stufensprung beträgt 0,5 – 1 mm. |
||||||||||||
| Nenn-Ø D₁ |
B₁ ±0,3 |
Dₙ H13 |
L₁ +1 -0,2 |
L₂ max. |
S₁ +0,2 -0,1 |
S₂ +0,2 -0,1 |
||||||
|---|---|---|---|---|---|---|---|---|---|---|---|---|
| W1 | W3 | W4 | W5 | W1 | W3 | W4 | W5 | |||||
| Ø5 bis Ø14 | 15 | 6,4 | ½ D₁ + 11,2 | ½ D₁ + 18,7 | 0,6 | 1,6 | ||||||
| Ø15 bis Ø110 | 0,8 | 0,6 | 1,8 | 1,6 | ||||||||
|
D₁ entspricht dem Außendurchmesser des zu haltenden Teiles. Die Halterungsschellen weisen keinen Spannbereich auf. Der Stufensprung beträgt 0,5 – 1 mm. |
||||||||||||
| Nenn-Ø D₁ |
B₁ ±0,3 |
Dₙ H13 |
L₁ +1 -0,2 |
L₂ max. |
S₁ +0,2 -0,1 |
S₂ +0,2 -0,1 |
||||||
|---|---|---|---|---|---|---|---|---|---|---|---|---|
| W1 | W3 | W4 | W5 | W1 | W3 | W4 | W5 | |||||
| Ø6 bis Ø25 | 20 | 8,4 | ½ D₁ + 14,5 | ½ D₁ + 24,5 | 0,8 | 2,3 | ||||||
| Ø26 bis Ø130 | 1,0 | 0,8 | 2,5 | 2,3 | ||||||||
|
D₁ entspricht dem Außendurchmesser des zu haltenden Teiles. Die Halterungsschellen weisen keinen Spannbereich auf. Der Stufensprung beträgt 0,5 – 1 mm. |
||||||||||||
| Nenn-Ø D₁ |
B₁ ±0,3 |
Dₙ H13 |
L₁ +1 -0,2 |
L₂ max. |
S₁ +0,2 -0,1 |
S₂ +0,2 -0,1 |
||||||
|---|---|---|---|---|---|---|---|---|---|---|---|---|
| W1 | W3 | W4 | W5 | W1 | W3 | W4 | W5 | |||||
| Ø8 bis Ø49 | 25 | 10,5 | ½ D₁ + 17,5 | ½ D₁ + 30 | 1,0 | 2,5 | ||||||
| Ø50 bis Ø150 | 1,25 | 1,0 | 2,75 | 2,5 | ||||||||
|
D₁ entspricht dem Außendurchmesser des zu haltenden Teiles. Die Halterungsschellen weisen keinen Spannbereich auf. Der Stufensprung beträgt 0,5 – 1 mm. |
||||||||||||

| Nenn-Ø D₁ / D₂ |
B₁ ±0,3 |
Dₙ H13 |
L₁ / L₃ +1 -0,2 |
L₂ / L₄ max. |
S₁ +0,2 -0,1 |
S₂ +0,2 -0,1 |
||||||
|---|---|---|---|---|---|---|---|---|---|---|---|---|
| W1 | W3 | W4 | W5 | W1 | W3 | W4 | W5 | |||||
| Ø4 – Ø40 | 09 | 4,3 | ½ D₁ + 5,7 | ½ D₁ + 10,2 | 0,4 | 1,4 | ||||||
|
a D₁ ist der Durchmesser auf der Seite der Befestigungslasche. Die Halterungsschellen weisen keinen Spannbereich auf. Der Stufensprung beträgt 0,5–1 mm. |
||||||||||||
| Nenn-Ø D₁ / D₂ |
B₁ ±0,3 |
Dₙ H13 |
L₁ / L₃ +1 -0,2 |
L₂ / L₄ max. |
S₁ +0,2 -0,1 |
S₂ +0,2 -0,1 |
||||||
|---|---|---|---|---|---|---|---|---|---|---|---|---|
| W1 | W3 | W4 | W5 | W1 | W3 | W4 | W5 | |||||
| Ø4 bis Ø40 | 12 | 5,3 | ½ D₁ + 8 | ½ D₁ + 14 | 0,5 | 1,5 | ||||||
|
a D₁ ist der Durchmesser auf der Seite der Befestigungslasche. Die Halterungsschellen weisen keinen Spannbereich auf. Der Stufensprung beträgt 0,5–1 mm. |
||||||||||||
| Nenn-Ø D₁ / D₂ |
B₁ ±0,3 |
Dₙ H13 |
L₁ / L₃ +1 -0,2 |
L₂ / L₄ max. |
S₁ +0,2 -0,1 |
S₂ +0,2 -0,1 |
||||||
|---|---|---|---|---|---|---|---|---|---|---|---|---|
| W1 | W3 | W4 | W5 | W1 | W3 | W4 | W5 | |||||
| Ø5 bis Ø14 | 15 | 6,4 | ½ D₁ + 11,2 | ½ D₁ + 18,7 | 0,6 | 1,6 | ||||||
| Ø15 bis Ø110 | 0,8 | 0,6 | 1,8 | 1,6 | ||||||||
|
a D₁ ist der Durchmesser auf der Seite der Befestigungslasche. Die Halterungsschellen weisen keinen Spannbereich auf. Der Stufensprung beträgt 0,5–1 mm. |
||||||||||||
| Nenn-Ø D₁ / D₂ |
B₁ ±0,3 |
Dₙ H13 |
L₁ / L₃ +1 -0,2 |
L₂ / L₄ max. |
S₁ +0,2 -0,1 |
S₂ +0,2 -0,1 |
||||||
|---|---|---|---|---|---|---|---|---|---|---|---|---|
| W1 | W3 | W4 | W5 | W1 | W3 | W4 | W5 | |||||
| Ø6 bis Ø25 | 20 | 8,4 | ½ D₁ + 14,5 | ½ D₁ + 24,5 | 0,8 | 2,3 | ||||||
| Ø26 bis Ø130 | 1,0 | 0,8 | 2,5 | 2,3 | ||||||||
|
a D₁ ist der Durchmesser auf der Seite der Befestigungslasche. Die Halterungsschellen weisen keinen Spannbereich auf. Der Stufensprung beträgt 0,5–1 mm. |
||||||||||||
| Nenn-Ø D₁ / D₂ |
B₁ ±0,3 |
Dₙ H13 |
L₁ / L₃ +1 -0,2 |
L₂ / L₄ max. |
S₁ +0,2 -0,1 |
S₂ +0,2 -0,1 |
||||||
|---|---|---|---|---|---|---|---|---|---|---|---|---|
| W1 | W3 | W4 | W5 | W1 | W3 | W4 | W5 | |||||
| Ø8 bis Ø49 | 25 | 10,5 | ½ D₁ + 17,5 | ½ D₁ + 30 | 1,0 | 2,5 | ||||||
| Ø50 bis Ø150 | 1,25 | 1,0 | 2,75 | 2,5 | ||||||||
|
a D₁ ist der Durchmesser auf der Seite der Befestigungslasche. Die Halterungsschellen weisen keinen Spannbereich auf. Der Stufensprung beträgt 0,5–1 mm. |
||||||||||||

| Nenn-Ø D₁ / D₂ |
B₁ ±0,3 |
Dₙ H13 |
L₁ / L₃ +1 -0,2 |
L₂ / L₄ max. |
S₁ +0,2 -0,1 |
S₂ +0,2 -0,1 |
||||||
|---|---|---|---|---|---|---|---|---|---|---|---|---|
| W1 | W3 | W4 | W5 | W1 | W3 | W4 | W5 | |||||
| Ø4 – Ø40 | 09 | 4,3 | ½ D₁ + 5,7 | ½ D₁ + 10,2 | 0,4 | 1,4 | ||||||
|
a D₁ ist der Durchmesser auf der Seite der Befestigungslasche. Die Halterungsschellen weisen keinen Spannbereich auf. Der Stufensprung beträgt 0,5–1 mm. |
||||||||||||
| Nenn-Ø D₁ / D₂ |
B₁ ±0,3 |
Dₙ H13 |
L₁ / L₃ +1 -0,2 |
L₂ / L₄ max. |
S₁ +0,2 -0,1 |
S₂ +0,2 -0,1 |
||||||
|---|---|---|---|---|---|---|---|---|---|---|---|---|
| W1 | W3 | W4 | W5 | W1 | W3 | W4 | W5 | |||||
| Ø4 bis Ø40 | 12 | 5,3 | ½ D₁ + 8 | ½ D₁ + 14 | 0,5 | 1,5 | ||||||
|
a D₁ ist der Durchmesser auf der Seite der Befestigungslasche. Die Halterungsschellen weisen keinen Spannbereich auf. Der Stufensprung beträgt 0,5–1 mm. |
||||||||||||
| Nenn-Ø D₁ / D₂ |
B₁ ±0,3 |
Dₙ H13 |
L₁ / L₃ +1 -0,2 |
L₂ / L₄ max. |
S₁ +0,2 -0,1 |
S₂ +0,2 -0,1 |
||||||
|---|---|---|---|---|---|---|---|---|---|---|---|---|
| W1 | W3 | W4 | W5 | W1 | W3 | W4 | W5 | |||||
| Ø5 bis Ø14 | 15 | 6,4 | ½ D₁ + 11,2 | ½ D₁ + 18,7 | 0,6 | 1,6 | ||||||
| Ø15 bis Ø110 | 0,8 | 0,6 | 1,8 | 1,6 | ||||||||
|
a D₁ ist der Durchmesser auf der Seite der Befestigungslasche. Die Halterungsschellen weisen keinen Spannbereich auf. Der Stufensprung beträgt 0,5–1 mm. |
||||||||||||
| Nenn-Ø D₁ / D₂ |
B₁ ±0,3 |
Dₙ H13 |
L₁ / L₃ +1 -0,2 |
L₂ / L₄ max. |
S₁ +0,2 -0,1 |
S₂ +0,2 -0,1 |
||||||
|---|---|---|---|---|---|---|---|---|---|---|---|---|
| W1 | W3 | W4 | W5 | W1 | W3 | W4 | W5 | |||||
| Ø6 bis Ø25 | 20 | 8,4 | ½ D₁ + 14,5 | ½ D₁ + 24,5 | 0,8 | 2,3 | ||||||
| Ø26 bis Ø130 | 1,0 | 0,8 | 2,5 | 2,3 | ||||||||
|
a D₁ ist der Durchmesser auf der Seite der Befestigungslasche. Die Halterungsschellen weisen keinen Spannbereich auf. Der Stufensprung beträgt 0,5–1 mm. |
||||||||||||
| Nenn-Ø D₁ / D₂ |
B₁ ±0,3 |
Dₙ H13 |
L₁ / L₃ +1 -0,2 |
L₂ / L₄ max. |
S₁ +0,2 -0,1 |
S₂ +0,2 -0,1 |
||||||
|---|---|---|---|---|---|---|---|---|---|---|---|---|
| W1 | W3 | W4 | W5 | W1 | W3 | W4 | W5 | |||||
| Ø8 bis Ø49 | 25 | 10,5 | ½ D₁ + 17,5 | ½ D₁ + 30 | 1,0 | 2,5 | ||||||
| Ø50 bis Ø150 | 1,25 | 1,0 | 2,75 | 2,5 | ||||||||
|
a D₁ ist der Durchmesser auf der Seite der Befestigungslasche. Die Halterungsschellen weisen keinen Spannbereich auf. Der Stufensprung beträgt 0,5–1 mm. |
||||||||||||

| Nenn-Ø D₁ / D₂ |
B₁ ±0,3 |
Dₙ H13 |
L₁ / L₃ +1 -0,2 |
L₂ / L₄ max. |
S₁ +0,2 -0,1 |
S₂ +0,2 -0,1 |
||||||
|---|---|---|---|---|---|---|---|---|---|---|---|---|
| W1 | W3 | W4 | W5 | W1 | W3 | W4 | W5 | |||||
| Ø4 – Ø40 | 09 | 4,3 | ½ D₁ + 5,7 | ½ D₁ + 10,2 | 0,4 | 1,4 | ||||||
|
D₁ / D₂ entspricht dem Außendurchmesser des zu haltenden Teiles. Die Halterungsschellen weisen keinen Spannbereich auf. Der Stufensprung beträgt 0,5 – 1 mm. |
||||||||||||
| Nenn-Ø D₁ / D₂ |
B₁ ±0,3 |
Dₙ H13 |
L₁ / L₃ +1 -0,2 |
L₂ / L₄ max. |
S₁ +0,2 -0,1 |
S₂ +0,2 -0,1 |
||||||
|---|---|---|---|---|---|---|---|---|---|---|---|---|
| W1 | W3 | W4 | W5 | W1 | W3 | W4 | W5 | |||||
| Ø4 bis Ø40 | 12 | 5,3 | ½ D₁ + 8 | ½ D₁ + 14 | 0,5 | 1,5 | ||||||
|
D₁ / D₂ entspricht dem Außendurchmesser des zu haltenden Teiles. Die Halterungsschellen weisen keinen Spannbereich auf. Der Stufensprung beträgt 0,5 – 1 mm. |
||||||||||||
| Nenn-Ø D₁ / D₂ |
B₁ ±0,3 |
Dₙ H13 |
L₁ / L₃ +1 -0,2 |
L₂ / L₄ max. |
S₁ +0,2 -0,1 |
S₂ +0,2 -0,1 |
||||||
|---|---|---|---|---|---|---|---|---|---|---|---|---|
| W1 | W3 | W4 | W5 | W1 | W3 | W4 | W5 | |||||
| Ø5 bis Ø14 | 15 | 6,4 | ½ D₁ + 11,2 | ½ D₁ + 18,7 | 0,6 | 1,6 | ||||||
| Ø15 bis Ø110 | 0,8 | 0,6 | 1,8 | 1,6 | ||||||||
|
D₁ / D₂ entspricht dem Außendurchmesser des zu haltenden Teiles. Die Halterungsschellen weisen keinen Spannbereich auf. Der Stufensprung beträgt 0,5 – 1 mm. |
||||||||||||
| Nenn-Ø D₁ / D₂ |
B₁ ±0,3 |
Dₙ H13 |
L₁ / L₃ +1 -0,2 |
L₂ / L₄ max. |
S₁ +0,2 -0,1 |
S₂ +0,2 -0,1 |
||||||
|---|---|---|---|---|---|---|---|---|---|---|---|---|
| W1 | W3 | W4 | W5 | W1 | W3 | W4 | W5 | |||||
| Ø6 bis Ø25 | 20 | 8,4 | ½ D₁ + 14,5 | ½ D₁ + 24,5 | 0,8 | 2,3 | ||||||
| Ø26 bis Ø130 | 1,0 | 0,8 | 2,5 | 2,3 | ||||||||
|
D₁ / D₂ entspricht dem Außendurchmesser des zu haltenden Teiles. Die Halterungsschellen weisen keinen Spannbereich auf. Der Stufensprung beträgt 0,5 – 1 mm. |
||||||||||||
| Nenn-Ø D₁ / D₂ |
B₁ ±0,3 |
Dₙ H13 |
L₁ / L₃ +1 -0,2 |
L₂ / L₄ max. |
S₁ +0,2 -0,1 |
S₂ +0,2 -0,1 |
||||||
|---|---|---|---|---|---|---|---|---|---|---|---|---|
| W1 | W3 | W4 | W5 | W1 | W3 | W4 | W5 | |||||
| Ø8 bis Ø49 | 25 | 10,5 | ½ D₁ + 17,5 | ½ D₁ + 30 | 1,0 | 2,5 | ||||||
| Ø50 bis Ø150 | 1,25 | 1,0 | 2,75 | 2,5 | ||||||||
|
D₁ / D₂ entspricht dem Außendurchmesser des zu haltenden Teiles. Die Halterungsschellen weisen keinen Spannbereich auf. Der Stufensprung beträgt 0,5 – 1 mm. |
||||||||||||

| Werkstoff | Schellenband / Stützscheibe / Stützwinkel | |
|---|---|---|
| W1 | Stahl DX51D+Z-275 MAC (verzinkt), Zugfestigkeit min. 400 N/mm² |
![]() |
| W3 | Stahl der Werkstoffnummer 1.4016 (X6Cr17), AISI 430 nach DIN EN 10088-2 | |
| W4 | Stahl der Werkstoffnummer 1.4301 (X5CrNi18-10), AISI 304 nach DIN EN 10088-2 | |
| W5 | Stahl der Werkstoffnummer 1.4404 / 1.4435 (X2CrNiMo), AISI 316L nach DIN EN 10088-2 |
| Internationale Normbezeichnung | ||||||
|---|---|---|---|---|---|---|
| Werkstoff | DIN | AISI | BS | AFNOR | SS | SUS |
| W1 | DX51D+Z275 MAC ist ein nach EN 10346 genormter, feuerverzinkter Stahl mit einer metallisch legierten Beschichtung | |||||
| W3 | 1.4016 | 430 | 430 S 17 | Z8 C 17 | 2320 | 430 |
| W4 | 1.4301 | 304 | 304 S 15 | Z6 CN 18-09 | 2332 | 304 |
| W5 | 1.4404 | 316L | 316 S 31 | Z3 CND 17 | 2347 | 316L |

| Gummiprofil-Werkstoffe / Eigenschaften | ||||
|---|---|---|---|---|
| Kurzbezeichnung | EPDM | CR | NBR | Silikon (MVQ) |
| Chemische Bezeichnung | Ethylen-Propylen-Kautschuk | Chloropren-Kautschuk | Nitril-Kautschuk | Methyl-Vinyl-Silikon |
| Farbe | schwarz | schwarz | schwarz | milchig/grau |
| Zugfestigkeit [N/mm²] | 7 | 10 | 14 | 8,5 |
| Bruchdehnung [%] | 350 | 200 | 390 | 350 |
| Härtebereich [Shore A] | 65 ± 5 | 65 ± 5 | 65 ± 5 | 65 ± 5 |
| Temperaturbereich [°C] | -40 bis +120 | -35 bis +100 | -35 bis +100 | -60 bis +170 |
| Wetter- / Ozonbeständigkeit | sehr gut | sehr gut | mäßig | gut |
| Alterungs- / Lichtrissbeständigkeit | sehr gut | sehr gut | gut | sehr gut |
| Beständig gegen: | ||||
| Benzin | nicht beständig | ausreichend | gut | mäßig |
| Öle und Fette | nicht beständig | gut | sehr gut | gut |
| Alkohole | gut | gut | gut | gut |
| Säuren | gut | gut | sehr gut | mäßig |
| Alkalien | gut | gut | sehr gut | mäßig |
| B1 | B2 | S | EPDM | CR | NBR | Silikon |
|---|---|---|---|---|---|---|
| 09 | 13 ±0,8 | 1,0 ±0,35 | ● | ● | ● | ● |
| 12 | 15 ±0,8 | 1,0 ±0,35 | ● | ● | ● | ● |
| 15 | 19 ±1,0 | 1,5 ±0,35 | ● | ● | ● | ● |
| 20 | 25 ±1,0 | 2,0 ±0,35 | ● | ● | ● | ● |
| 25 | 31 ±1,3 | 3,0 ±0,35 | ● | ● | ● | ● |
| 30 | 36 ±1,3 | 3,0 ±0,35 | ● | — | — | ● |

Die angegebenen Daten fungieren lediglich als Entscheidungshilfe, da eine Gewährleistung grundsätzlich nicht übernommen werden kann, denn Haltbarkeit und Funktion der Materialien ist von einer Reihe Faktoren abhängig, auf die wir keinen Einfluss haben.